產品中心
當前位置:首頁>產品中心
風量型高壓熱風機

型號說明

風機產品圖

特點
航林高壓熱風機升溫快速,熱效率高,可不間斷連續工作、持久耐用、溫控、可用于管道烘干,清洗機快速干燥、鋼板吹干,流水線快速干燥等,應用廣泛。高壓離心風機;
熱交換率高,風量、風壓損失小;
采用非磁性純2080鎳絡絲,干凈純潔,不消耗空氣中的氧氣,符合環保;
多重安全保護裝置,安全可靠,可長時間工作;
采用PID/SSR控制,溫度自動恒溫調節功能,溫度精準控制達±0.5℃,溫度、風量、風壓可任意調節;
出風口溫度常溫至350℃(小風量時),進風溫度常溫,出風口溫度強勁有力特別適用于工作的快速加熱與干燥;
可外接PLC遠程控制端口
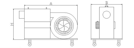
尺寸圖

實例應用現場

參數表
|
高壓風量型型號
|
外形尺寸A/B/H
|
出風口
|
加熱功率
|
風機功率
|
風壓
|
風量
|
電壓
|
|
HLJT-3380-GX10A-0.75
|
1100*600*670
|
φ90
|
10KW
|
0.75KW
|
1953pa
|
810m3/h
|
380v
|
|
HLJT-3380-GX15A-0.75
|
1100*600*670
|
φ90
|
15KW
|
0.75KW
|
1953pa
|
810m3/h
|
380v
|
|
HLJT-3380-GX20A-0.75
|
1200*900*850
|
φ90
|
20KW
|
0.75KW
|
1953pa
|
810m3/h
|
380v
|
|
HLJT-3380-GX20A-1.5
|
1200*600*850
|
φ102
|
20KW
|
1.5KW
|
2500pa
|
760m3/h
|
380v
|
|
HLJT-3380-GX30A-1.5
|
1300*650*850
|
φ159
|
30KW
|
1.5KW
|
2500pa
|
760m3/h
|
380v
|
|
HLJT-3380-GX30A-2.2
|
1300*650*850
|
φ159
|
30KW
|
2.2KW
|
3500pa
|
1264m3/h
|
380v
|
|
HLJT-3380-GX40A-2.2
|
1300*650*850
|
φ159
|
40KW
|
2.2KW
|
3500pa
|
1264m3/h
|
380v
|
|
HLJT-3380-GX40A-3
|
1300*650*850
|
φ159
|
40KW
|
3KW
|
3507pa
|
1704m3/h
|
380v
|
|
HLJT-3380-GX50A-3
|
1400*650*850
|
φ159
|
50KW
|
3KW
|
3507pa
|
1704m3/h
|
380v
|
|
HLJT-3380-GX50A-4
|
1500*700*1050
|
φ159
|
50KW
|
4KW
|
4600pa
|
2062m3/h
|
380v
|
|
HLJT-3380-GX50A-5.5
|
1500*700*1050
|
φ159
|
50KW
|
5.5KW
|
4297pa
|
2504m3/h
|
380v
|
|
HLJT-3380-GX60A-4
|
1700*800*1170
|
φ219
|
60KW
|
4KW
|
4600pa
|
2062m3/h
|
380v
|
|
HLJT-3380-GX60A-5.5
|
1600*800*1270
|
φ159
|
60KW
|
5.5KW
|
4297pa
|
2054m3/h
|
380v
|
|
HLJT-3380-GX60A-7.5
|
1700*800*1270
|
φ219
|
60KW
|
7.5KW
|
5697pa
|
3166m3/h
|
380v
|
|
HLJT-3380-GX80A-5.5
|
1700*800*1370
|
φ219
|
80KW
|
5.5KW
|
4297pa
|
2504m3/h
|
380v
|
|
HLJT-3380-GX80A-7.5
|
1600*800*1350
|
φ219
|
80KW
|
7.5KW
|
5697pa
|
3166m3/h
|
380v
|
|
HLJT-3380-GX80A-11
|
1600*800*1350
|
φ219
|
80KW
|
11KW
|
7182pa
|
3619m3/h
|
380v
|
|
HLJT-3380-GX100A-7.5
|
1700*850*1350
|
φ219
|
100KW
|
7.5KW
|
5697pa
|
3166m3/h
|
380v
|
|
HLJT-3380-GX100A-11
|
1700*850*1400
|
φ219
|
100KW
|
11KW
|
7182pa
|
3619m3/h
|
380v
|
|
HLJT-3380-GX100A-18.5
|
1700*850*1400
|
φ325
|
100KW
|
18.5KW
|
9149pa
|
5153m3/h
|
380v
|
|
HLJT-3380-GX120A-11
|
2000*850*1500
|
φ292
|
120KW
|
11KW
|
7182pa
|
3166m3/h
|
380v
|
|
HLJT-3380-GX120A-18.5
|
2000*850*1500
|
φ292
|
120KW
|
18.5KW
|
9149pa
|
5153m3/h
|
380v
|
|
HLJT-3380-GX150A-18.5
|
2000*950*1600
|
φ325
|
150KW
|
18.5KW
|
9149pa
|
5153m3/h
|
380v
|
|
HLJT-3380-GX200A-18.5
|
2200*850*1600
|
φ325
|
200KW
|
18.5KW
|
9149pa
|
5153m3/h
|
380v
|
備注:產品不斷改良,當參數與外觀發生變化時,均已實樣為準,可定制不同風量、風壓的熱風機,標準電源為三相380V,特殊電壓需說明


地址:浙江省嘉興市南湖區新豐鎮新豐工業園雙龍路2448號
郵編:314005
電話:15968370981 18667366092
傳真:0573-83024800
網址:www.hanglingy.com